+7 (499) 213-03-63
Время работы: 8:00 - 18:00

СекторAVKAVKМЗТАLDBROENDendorDendorADL

Двойной раструбный соединитель ДРК

Артикул товара
364
Было: 2 300 руб.
Цена: 1 932 руб.
Экономия: 368 руб. ( -16.00% )
-16%
  • цены на 7% ниже, чем у конкурентов!
  • получите оптовые цены - отправьте заявку!
  •   Полное наименование Соединитель раструбный двойной ДРК с резиновым уплотнением
      Тип присоединения Фланцевое, прижимное
      Страна производителя: РФ
      Завод-изготовитель: ПКФ СЕКТОР
      Материал корпуса: Чугун, резина EPDM или NBR
      Температура рабочей среды: от -20С до +110С
      Рабочая среда: Вода с неагрессивными примесями
      Давление условное Ру16
  • Двойной компенсационный раструб ДРК применяется для соединения двух чугунных или стальных труб без применения сварки или в отсутствии возможности применения фланцев.

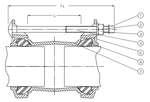
  • Рис.1 Чертеж раструбный соединитель двойной ДРК

    1 - Колпачок; 2 - Шайба; 3 - Гайка; 4 - Шпилька; 5 кольцо сальника; 6 Резиновое уплотнение; 7 - манжета 

     

    Ру 16

    50

    59

    73

    150

    161

    2xM12

    2,22

    65

    72

    85

    150

    166

    2xM12

    2,50

    80

    88

    103

    150

    190

    4xM12

    3,73

    100

    109

    128

    150

    221

    4xM12

    4,72

    125

    132

    154

    150

    245

    4xM12

    5,14

    150

    159

    182

    180

    281

    4xM12

    6,74

    175

    192

    210

    200

    305

    4xM12

    8,00

    200

    218

    235

    200

    331

    4xM12

    9,60

    250

    250

    267

    200

    367

    6xM12

    13,02

    250

    272

    289

    200

    395

    6xM12

    13,50

    300

    315

    332

    240

    440

    8хM12

    15,40

    300

    322

    339

    240

    460

    8хМ12

    16,6

    350

    374

    391

    240

    485

    8хМ16

    23

    400

    400

    429

    240

    530

    8хM16

    38,50

    400

    417

    437

    240

    530

    8хM16

    23,40

    500

    500

    532

    260

     

    10хM16

    37

    500

    526

    546

    260

     

    10хM16

    37

    600

    630

    650

    260

     

    10хM16

    43

     

    Основные технические характеристики ДРК

    Параметр

    Значение

    Рабочая среда

    вода с различными неагрессивными примесями.

    Температура рабочей среды, °С

    от – 20 до + 110

    Рабочее давление, МПа

    до 1,6 МПа

    Компенсация углового отклонения

    до 4°

    Допускаемые осевые передвижения в прокладке, мм

    ± 2,5 мм

    Климатическое исполнение и категория размещения по ГОСТ 15150

    УХЛ5

     

    Материалы

    1 — корпус: сфероидальный чугун GGG50 / углеродистая сталь, эпоксидная краска.

    2 — крышка: сфероидальный чугун GGG50, эпоксидная краска.

    3 — прокладка: резина EPDM или NBR

    4, 5, 6 — крепежные изделия: оцинкованная сталь.

Похожие товары
Bugatti краны
Цена по запросу
  • Полное наименование: Кран Bugatti серия 300 (Oregon)
  • Клапан обратный 16кч11п
    457 руб.
  • Полное наименование: Клапан обратный чугунный муфтовый 16кч11п для предотвращения обратного тока рабочей среды на горизонтальных трубопроводах
  • Краны шаровые Бивал КШТХ серия 15
    10 570 руб.
  • Полное наименование: Краны шаровые фланцевые Ру16 Бивал КШТХ серия 12
  • Изготовитель: ООО "Торговый Дом АДЛ"

    • г. Москва,
      Солнечногорская улица д.4, стр.1
      территория завода Моссельмаш
    • 8 (800) 505-89-75
      8 (499) 213-03-63
    • fnxtrade@yandex.ru
    • Время работы офиса   :   08:00 – 18:00
      Выходные дни   :   Суббота, Воскресенье